- Описание
- Характеристики
Преимущества:
- Технологичность. Водонагреватель обеспечивает быстрый и равномерный нагрев воды с помощью змеевика из нержавеющей стали, отличающегося высокой теплопроводностью.
- Комфорт. Благодаря внедрению водонагревателя ВЭТ-500/W44 существенно снижается время ожидания горячей воды, обеспечивая мгновенный доступ к комфортному ее нагреву.
- Безопасность. Применение нержавеющих материалов, устойчивых к коррозии и механическим повреждениям, повышает безопасность эксплуатации устройства и снижает вероятность аварийных ситуаций.
- Универсальность. Водонагреватель ВЭТ-500/W44 может быть интегрирован практически в любую систему отопления и горячего водоснабжения, обеспечивая стабильность и надежность работы в различных условиях эксплуатации.
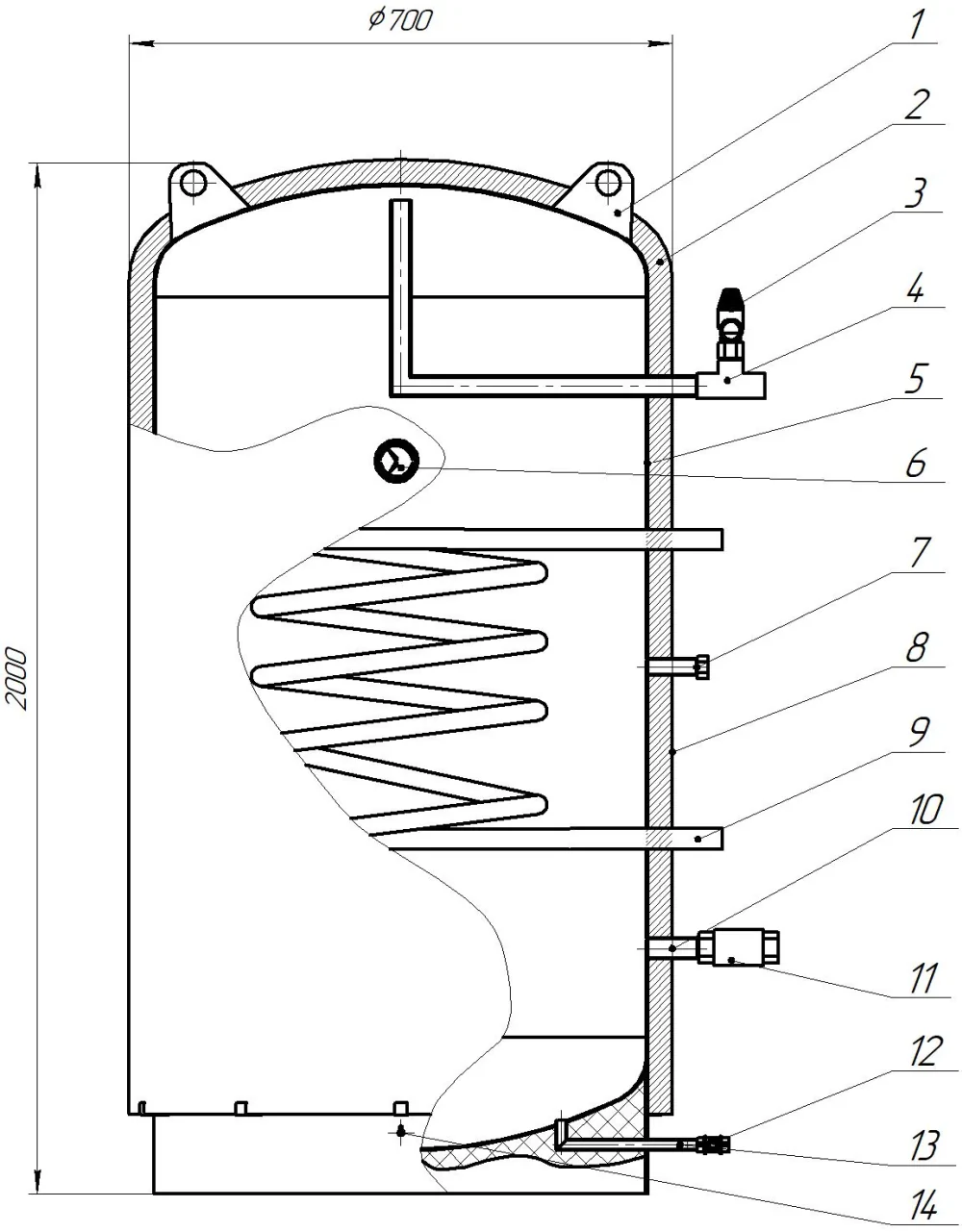
Характеристики ВЭТ-500/w44:
- Тип — водонагреватель косвенного нагрева.
- Объём бака — 500 л.
- Мощность змеевика (при воде 85°C) — 44 кВт.
- Площадь змеевика — 1 м².
- Высота / диаметр — 2000 / 700 мм.
- Масса — 125 кг.
- Толщина теплоизоляции — 50 мм.
- Материал бака и змеевика — нержавеющая сталь AISI304.

В стандартный комплект поставки водонагревателя косвенного нагрева ВЭТ-500/w44 входят:
- Проушина для подъема,
- Теплоизоляция толщиной 50 мм,
- Патрубки входа/выхода Ду32,
- Бак из нержавеющей стали AISI304,
- Термоманометр 80 мм ТМТБ-31Т,
- Съемный чехол (кожзам),
- Болт заземления М6,
- Патрубок слива,
- Шаровый кран Ду15,
- Змеевик из нержавеющей гофрированной трубы Ду32,
- Клапан предохранительный на 6 бар,
- Клапан обратный Ду32.
Дополнительные опции по запросу заказчика:
- Изменение мощности и площади теплообмена змеевика.
- Изменение количества змеевиков.
- Изменение расположения и размеров входных и выходных патрубков.
- Добавление магниевого или активного титанового анода.
- Добавление ревизионного люка Ду200.
Промышленные водонагреватели косвенного нагрева со змеевиком из гофрированной нержавеющей трубы — это высокоэффективное оборудование, предназначенное для нагрева и поддержания температуры воды в системах отопления, горячего водоснабжения и технологических процессах. Они обеспечивают надёжное и экономичное решение для крупных объектов, таких как промышленные предприятия, гостиницы, больницы, торговые центры и другие учреждения.
Принцип работы водонагревателя ВЭТ-500/w44
В основе работы водонагревателя косвенного нагрева лежит использование внешнего источника тепла, который нагревает теплоноситель в змеевике. Змеевик изготовлен из гофрированной нержавеющей трубы, что обеспечивает равномерный нагрев воды и устойчивость к коррозии. Теплоноситель, проходя через змеевик, передаёт тепло воде, которая находится в баке водонагревателя.

Применение
Промышленные водонагреватели косвенного нагрева со змеевиком из гофрированной нержавеющей трубы широко используются в различных отраслях промышленности и сферах деятельности. Они обеспечивают надёжное и эффективное решение для нагрева воды в системах отопления, горячего водоснабжения и технологических процессах на крупных объектах.
Если вы ищете надёжное и эффективное оборудование для нагрева воды, водонагреватель косвенного нагрева ВЭТ-500/w44 станет отличным выбором.









