Канализационная насосная станция предназначена для перекачки сточных вод в системах: бытовой, производственной или ливневой канализации. Она используется, когда нет возможности отводить сточные воды самотеком. Основные составляющие КНС: вертикальная емкость, погружные фекальные насосы, поплавковые выключатели, напорная труба с запорной арматурой, шкаф управления.
Монтаж канализационной насосной станции выполняется заглубленным способом и состоит из нескольких этапов. В этой статье рассмотрим подробно, как нужно его выполнять.
Подготовка фундамента
На подготовительном этапе монтажа подготавливается шахта для установки КНС. Она представляет собой вырытый в грунте котлован, по размеру несколько превышающий габариты корпуса КНС.
На дно котлована опускается фундаментная плита.
Она представляет собой массивное железобетонное изделие. Толщина и размеры плиты определяются при проектировании. Учитывается масса, высота корпуса канализационной насосной станции и особенности грунта в месте ее установки.
При необходимости грунт под фундаментной плитой уплотняется виброплитой. Само дно выравнивается по горизонтали для обеспечения строго вертикального расположения накопительной емкости и равномерного распределения возникающих при ее эксплуатации нагрузок.
При установке сравнительно небольших КНС с полиэтиленовым корпусом на дно котлована достаточно уложить слой гравия для обеспечения отвода влаги и выравнивания поверхности.
Установка корпуса
При установке корпуса важно соблюдать правила безопасности. Большие стальные емкости могут иметь значительную массу. Они опускаются на дно котлована с помощью подъемного крана, сооруженной над шахтой тали или иной машины.


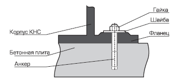
После достижения контакта между фундаментной плитой и корпусом выполняется фиксация конструкции с помощью анкеров. Емкости канализационных станций оснащены кронштейнами для установки четырех и более болтов в области фланца.
На рисунке показан узел крепления емкости к бетонному основанию.

При установке в районах высокой опасности возникновения грунтовых вод могут приниматься дополнительные меры по усилению основания. Например, выполняется заливка бетоном основания КНС. Это увеличивает массу изделия и снижает вероятность ее выдавливания грунтовыми водами.

Особенности монтажа корпусов разного типа
- При установке КНС со стальной емкостью после окончания работ следует осмотреть внешнюю и внутреннюю поверхность на предмет появления глубоких царапин и сколов. При обнаружении серьезных повреждений они покрываются защитным составом. С завода емкость поставляется с многослойным антикоррозийным покрытием, обеспечивающим срок службы до 50 лет.
- При установке полиэтиленовых баков также проводится осмотр на предмет повреждения внешнего слоя. Эти изделия изготавливаются из профиля. Сохранение целостности его контура обеспечивает механическую прочность изделия.
- Стеклопластиковые емкости обладают высокой прочностью и низким весом. При их монтаже важно опустить изделие плавно, чтобы не допустить удара о бетонную плиту.
Подключение коммуникаций
К входному отверстию емкости КНС монтируется труба канализационной системы. От попадания крупного мусора защищает стальная сетка. Ее конструкция позволяет поднимать ее с помощью цепей при обслуживании.
Выходные патрубки присоединяются к трубопроводу очистных сооружений. Количество выходов совпадает с числом насосов, установленных на дне канализационной станции. При подключении каждого используется независимая запорная арматура, состоящая из задвижек и обратных клапанов, препятствующих попаданию сточных вод обратно в накопительную емкость.
Если в комплекте со станцией поставляется электрошкаф, он подключается к трехфазной или однофазной сети, в зависимости от исполнения. Также оборудование может комплектоваться блоком АВР для автоматического перехода на резервное питание.
Установка насосов
Для облегчения установки насосов в конструкции станции могут быть предусмотрены направляющие. Мощные агрегаты, имеющие значительную массу, устанавливают на дно с помощью ручной тали. Это позволяет обеспечить безопасность монтажных работ и целостность оборудования.

Также проводится установка и настройка поплавковых выключателей. Проверяется их работоспособность. Выводы от поплавочных выключателей присоединяются к клеммам электрошкафа.
Пробный запуск
Для проведения испытаний используется чистая вода. Поэтому перед началом пробного пуска нужно обеспечить выполнение следующих условий:
- Наличие источника воды в достаточном для наполнения емкости КНС объеме. Для проведения испытаний ее можно подать с помощью гибкого шланга, погруженного в емкость через люк для обслуживания.
- Наличие электропитания на электрощите и агрегатах, к нему подключенных.
- Доступность ручной тали, подъемного крана для подъема и спуска агрегатов по необходимости.
Перед пробным пуском после монтажа канализационной насосной станции мастер проверяет степень натяжения силового кабеля и проводов, которыми насосы подключены к электрощиту. Чрезмерная нагрузка может привести к потере контакта или повреждению клемм, самого провода.
Далее проверяется состояние установленных агрегатов. Их входное отверстие должно быть свободно от посторонних предметов. Выходной патрубок должен быть подключен к трубопроводу. Задвижки открыты.
Далее в емкость нагнетается вода до уровня первого поплавка. Фиксируется включение погружного агрегата, откачивающего сточные массы в очистные сооружения. Параллельно осматривается состояние соединений, подтверждается их герметичность.
Подача воды прекращается. Фиксируется успешное отключение агрегата при срабатывании первого поплавка. Затем та же операция выполняется со вторым насосом. Если автоматика предусматривает последовательное включение агрегатов для равномерного распределения ресурса, дополнительных действий не требуется. В противном случае переключение на резервный насос выполняется вручную через электрошкаф или с помощью рубильников на его передней панели.
На последнем этапе проверяется включение обоих агрегатов при достижении уровня воды в емкости границы срабатывания второго поплавка. При наличии интерфейса с диспетчерским пультом одновременно проходит проверка передачи сигнала аварии, связанного с переполнением накопителя.
После проведения испытаний канализационная станция считается принятой заказчиком, подписывается акт. При выполнении работ силами монтажной организации с этого момента начинает действовать гарантия.
Автор статьи: Александр Шихов


