- Описание
- Характеристики
Преимущества:
- Марка стали AISI 304 - это гарантия идеальной чистоты воды. Никакой ржавчины, накипи и посторонних запахов. Идеально для пищевых производств и медицины.
- В отличие от эмалированных баков, нержавеющая сталь не боится трещин, перепадов температур и агрессивного воздействия воды. Это оборудование, которое покупается «один раз и на десятилетия».
- Максимальная теплопередача и устойчивость к гидроударам в системе отопления.
Характеристики ВЭТ-300/E30/W44:
- Тип — водонагреватель комбинированный.
- Объём бака — 300 л.
- Мощность ТЭН электрическая — 30 кВт.
- Мощность змеевика (при воде 85°C) — 44 кВт.
- Площадь змеевика — 2 м².
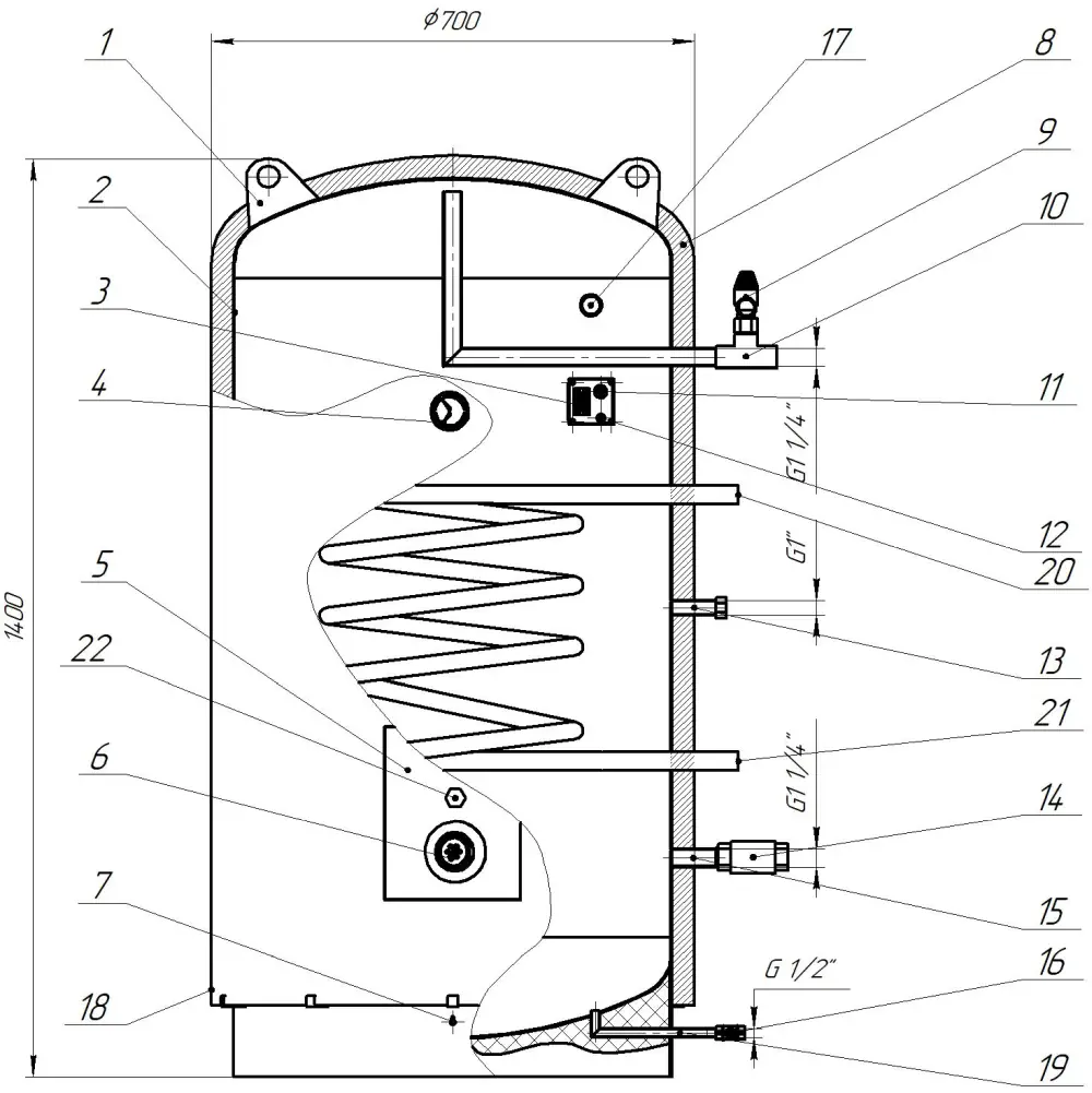
- Высота / диаметр — 1400 / 700 мм.
- Масса — 90 кг.
- Толщина теплоизоляции — 50 мм.
- Материал бака, змеевика, блока ТЭН — нержавеющая сталь AISI304.
Комбинированные водонагреватели (бойлеры) — это высокоэффективное оборудование, объединяющее в себе два источника тепла: косвенный нагрев от системы отопления (через встроенный змеевик-теплообменник) и прямой электрический нагрев (с помощью ТЭНов). Такая конструкция делает их идеальным выбором для объектов, где требуется автономное, надёжное и экономичное производство большого объёма горячей воды.
Основные сферы применения:
- Больницы
- Спортивные комплексы
- Гостиницы
- Торговые центры
- Детские сады, школы
- Военные части
- Многоквартирные дома
- Промышленные предприятия (для душевых и технологических нужд)
Принцип работы и ключевые особенности ВЭТ-300/E30/W44
1. Основной нагрев (экономичный): Бойлер подключается к котлу. В отопительный сезон вода в баке нагревается за счет циркулирующего через змеевик теплоносителя, что значительно сокращает затраты на электроэнергию.
2. Доводка и летний режим (резервный): Встроенные электрические ТЭНы автоматически включаются, если мощности котла недостаточно или в межсезонье, когда котел отключен. Управление осуществляется через шкаф управления нагревом (ШУ).
3. Важные конструктивные элементы:
- Внутренний бак: из пищевой нержавеющей стали AISI304 с толщиной стенки от 3 до 5 мм.
- Змеевик теплообменника: расположен по всему объёму бака или на дне, изготавливается из гофрированной нержавеющей трубы.
- Наружный чехол: тканный материал с молнией. Обеспечивает простоту диагностики и ремонта внутреннего бака.
- Утеплитель: базальтовый мат, ламельный, фольгированный толщиной 50 мм.
- Комплектация: группа безопасности (обратный и предохранительный клапан), термоманометр, патрубок рециркуляции, поплавковый датчик, рабочий и аварийный температурные датчики.
- Автоматика: пульт управления ШУ (с панелью), автоматические выключатели, терморегулятор ТРМ-500 и магнитный пускатель.

В стандартный комплект поставки водонагревателя комбинированного нагрева ВЭТ-300/E30/W44 входят:
- Проушина для подъема (поднимать только пустой водонагреватель)
- Бак водонагревателя (сталь AISI304)
- Колодка подключения водонагревателя к шкафу управления ШУ
- Термоманометр
- Шкаф подключения блока ТЭН
- Блок ТЭН 30 кВт
- Болт заземления М6
- Теплоизоляция (мат базальтовый ламельный)
- Клапан предохранительный на 6 бар
- Трубопровод горячей воды Dy32 (внутренняя резьба)
- Датчик уровня поплавковый
- Термостат биметаллический аварийный
- Трубопровод рециркуляции Dy25 (наружная резьба)
- Клапан обратный Dy32
- Трубопровод холодной воды Dy32 (внутренняя резьба)
- Кран шаровый Dy15
- Термопреобразователь
- Защитный чехол (тканый материал)
- Трубопровод слива воды
- Патрубок подающий греющей воды Dy32 (наружная резьба)
- Патрубок обратный греющей воды Dy32 (наружная резьба)
- Анод магниевый L=460/22+10×М8

Дополнительные опции по запросу заказчика:
По запросу заказчика ОДО «Предприятие «Взлет» может изменить и добавить:
- Мощность и площадь теплообмена змеевика
- Количество змеевиков
- Расположение и размер входных и выходных патрубков
- Добавить магниевый или активный титановый анод
- Керамические сухие блоки ТЭН для жесткой воды
- Добавить ревизионный люк ДУ200









