- Описание
- Характеристики
Преимущества:
Универсальность и надежность в одном решении:
- Два источника нагрева: Объединяет электрический ТЭН (6 кВт) и теплообменник из нержавеющей стали.
- Гибкость использования: Работает как в системах с котлом (косвенный нагрев), так и автономно от электросети.
- Стабильность: Идеально для объектов с перебоями основного источника тепла или сезонными колебаниями нагрузки.
Высокое качество материалов — долговечность и безопасность:
- Бак из нержавеющей стали AISI 304: Устойчив к коррозии, гарантирует чистоту воды и длительный срок службы.
- Змеевик из нержавеющей стали: Эффективный теплообмен, совместим с водой и антифризом.
Характеристики ВЭТ-300/E6/W44:
- Тип — водонагреватель комбинированный.
- Объём бака — 300 л.
- Мощность ТЭН электрическая — 6 кВт.
- Мощность змеевика (при воде 85°C) — 44 кВт.
- Площадь змеевика — 2 м².
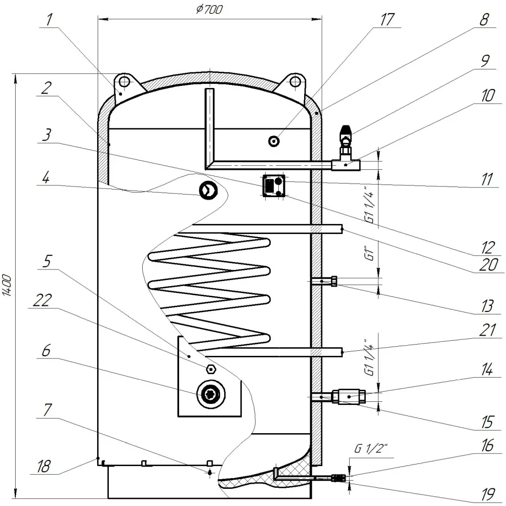
- Высота / диаметр — 1400 / 700 мм.
- Масса — 90 кг.
- Толщина теплоизоляции — 50 мм.
- Материал бака, змеевика, блока ТЭН — нержавеющая сталь AISI 304.
Комбинированные водонагреватели (бойлеры) — это высокоэффективное оборудование, объединяющее в себе два источника тепла: косвенный нагрев от системы отопления (через встроенный змеевик-теплообменник) и прямой электрический нагрев (с помощью ТЭНов). Такая конструкция делает их идеальным выбором для объектов, где требуется автономное, надежное и экономичное производство большого объема горячей воды.
Основные сферы применения:
Больницы, спортивные комплексы, гостиницы, торговые центры, детские сады, школы, военные части, многоквартирные дома, промышленные предприятия (для душевых и технологических нужд).
Принцип работы и ключевые особенности
1. Основной нагрев (экономичный): Бойлер подключается к котлу. В отопительный сезон вода в баке нагревается за счет циркулирующего через змеевик теплоносителя, что значительно сокращает затраты на электроэнергию.
2. Доводка и летний режим (резервный): Встроенные электрические ТЭНы автоматически включаются, если мощности котла недостаточно или в межсезонье, когда котел отключен. Управление осуществляется через шкаф управления нагревом (ШУ).
3. Важные конструктивные элементы:
- Внутренний бак: Из пищевой нержавеющей стали AISI 304 с толщиной стенки от 3 до 5 мм.
- Змеевик теплообменника: Изготавливается из гофрированной нержавеющей трубы, расположен по всему объему бака или на дне.
- Наружный чехол: Тканный материал с молнией для простоты диагностики и ремонта.
- Утеплитель: Базальтовый мат, ламельный, фольгированный толщиной 50 мм.
- Комплектация: Группа безопасности (обратный и предохранительный клапан), термоманометр, патрубок рециркуляции, поплавковый датчик, рабочий и аварийный температурные датчики.
- Автоматика: Пульт управления ШУ с терморегулятором ТРМ-500 и магнитным пускателем.

В стандартный комплект поставки водонагревателя комбинированного нагрева ВЭТ-300/E6/W44 входят:
- Проушина для подъема
- Бак водонагревателя (сталь AISI 304)
- Колодка подключения к шкафу управления ШУ
- Термоманометр
- Шкаф подключения блока ТЭН
- Блок ТЭН
- Болт заземления М6
- Теплоизоляция (мат базальтовый ламельный)
- Клапан предохранительный на 6 бар
- Трубопровод горячей воды Dy32 (внутренняя резьба)
- Датчик уровня поплавковый
- Термостат биметаллический аварийный
- Трубопровод рециркуляции Dy25 (наружная резьба)
- Клапан обратный Dy32
- Трубопровод холодной воды Dy32 (внутренняя резьба)
- Кран шаровый Dy15
- Термопреобразователь
- Защитный чехол (тканый материал)
- Трубопровод слива воды
- Патрубок подающий греющей воды Dy32 (наружная резьба)
- Патрубок обратный греющей воды Dy32 (наружная резьба)
- Анод магниевый

Дополнительные опции по запросу заказчика:
ОДО «Предприятие «Взлет» может изменить и добавить:
- Мощность и площадь теплообмена змеевика
- Количество змеевиков
- Расположение и размер входных и выходных патрубков
- Магниевый или активный титановый анод
- Керамические сухие блоки ТЭН для жесткой воды
- Ревизионный люк ДУ200







.webp)

