- Описание
- Характеристики
Преимущества:
- Простота монтажа и обслуживания. Компактность и легкость в установке: минимальный объём монтажных работ, простота транспортировки и монтажа позволяют быстро внедрить водонагреватель в эксплуатацию.
- Надежность и безопасность эксплуатации. Безопасные гидравлические характеристики, длительная гарантия эксплуатации.
- Широкий диапазон применения. Идеально подходит для крупных промышленных предприятий, складских комплексов, коммерческих и многоквартирных объектов, где важна стабильность горячего водоснабжения в разных условиях эксплуатации.
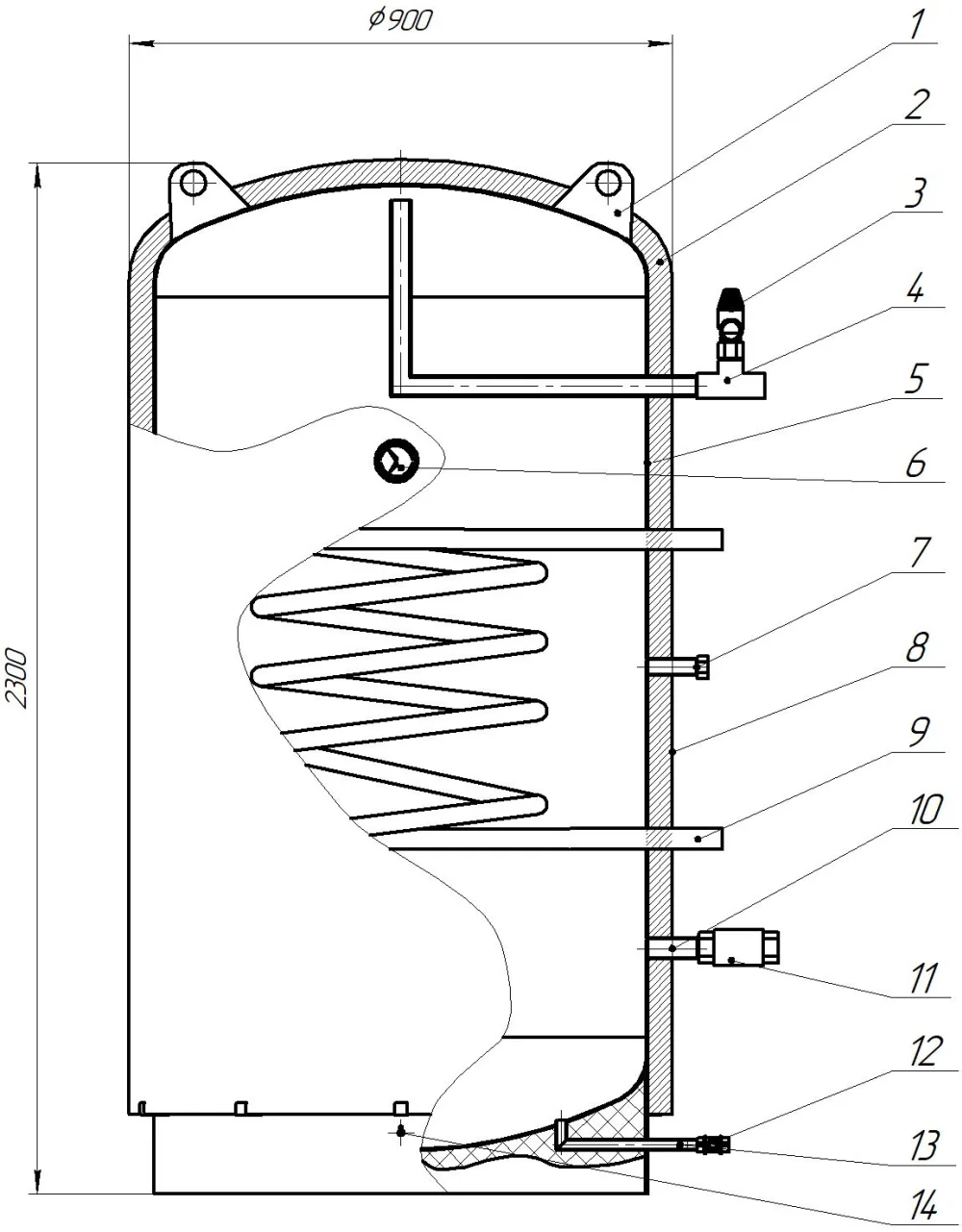
Характеристики ВЭТ-1000/W66:
- Тип — водонагреватель косвенного нагрева.
- Объём бака — 1000 л.
- Мощность змеевика (при воде 85°C) — 66 кВт.
- Площадь змеевика — 3 м².
- Высота / диаметр — 2300 / 900 мм.
- Масса — 215 кг.
- Толщина теплоизоляции — 50 мм.
- Материал бака и змеевика — нержавеющая сталь AISI304.

В стандартный комплект поставки водонагревателя косвенного нагрева ВЭТ-1000/W66 входят:
- Проушина для подъема,
- Теплоизоляция толщиной 50 мм,
- Патрубки входа/выхода Ду32,
- Бак из нержавеющей стали AISI304,
- Термоманометр 80 мм ТМТБ-31Т,
- Съемный чехол (кожзам),
- Болт заземления М6,
- Патрубок слива,
- Шаровый кран Ду15,
- Змеевик из нержавеющей гофрированной трубы Ду32,
- Клапан предохранительный на 6 бар,
- Клапан обратный Ду32.
Дополнительные опции по запросу заказчика:
- Изменение мощности и площади теплообмена змеевика.
- Изменение количества змеевиков.
- Изменение расположения и размеров входных и выходных патрубков.
- Добавление магниевого или активного титанового анода.
- Добавление ревизионного люка Ду200.
Промышленные водонагреватели косвенного нагрева со змеевиком из гофрированной нержавеющей трубы — это высокоэффективное оборудование, предназначенное для нагрева и поддержания температуры воды в системах отопления, горячего водоснабжения и технологических процессах. Они обеспечивают надёжное и экономичное решение для крупных объектов, таких как промышленные предприятия, гостиницы, больницы, торговые центры и другие учреждения.
Принцип работы водонагревателя ВЭТ-1000/W66
В основе работы водонагревателей косвенного нагрева лежит использование внешнего источника тепла, который нагревает теплоноситель в змеевике. Змеевик изготовлен из гофрированной нержавеющей трубы, что обеспечивает равномерный нагрев воды и устойчивость к коррозии. Теплоноситель, проходя через змеевик, передаёт тепло воде, которая находится в баке водонагревателя.

Применение
Промышленные водонагреватели косвенного нагрева со змеевиком из гофрированной нержавеющей трубы широко используются в различных отраслях промышленности и сферах деятельности. Они обеспечивают надёжное и эффективное решение для нагрева воды в системах отопления, горячего водоснабжения и технологических процессах на крупных объектах.
Если вы ищете надёжное и эффективное оборудование для нагрева воды, водонагреватель косвенного нагрева ВЭТ-1000/W66 станет отличным выбором.









