- Описание
- Характеристики
Преимущества:
- Оптимизированная конструкция змеевика и качественная теплоизоляция обеспечивают безопасную эксплуатацию даже при длительном использовании, сокращая риск аварийных ситуаций.
- Конструкция водонагревателя косвенного нагрева обеспечивает надежную подачу горячей воды даже при изменениях температуры теплоносителя.
- Используемая нержавеющая сталь и качественные материалы позволяют водонагревателю косвенного нагрева служить долгие годы, обеспечивая непрерывную подачу горячей воды и снижая затраты на обслуживание и ремонт.
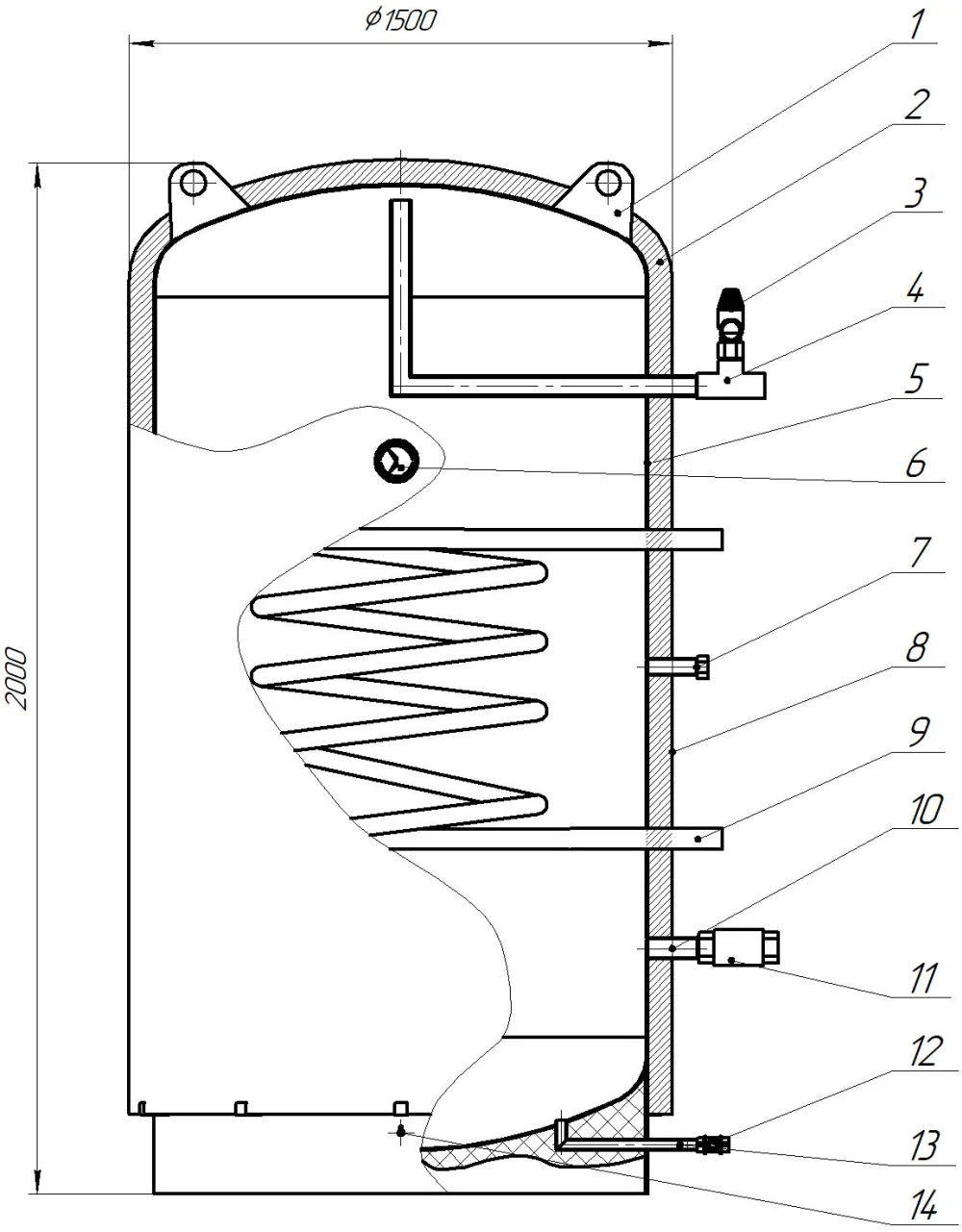
Характеристики ВЭТ-2500/W66:
- Тип — водонагреватель косвенного нагрева.
- Объём бака — 2500 л.
- Мощность змеевика (при воде 85°C) — 66 кВт.
- Площадь змеевика — 3 м².
- Высота / диаметр — 2000 / 1500 мм.
- Масса — 455 кг.
- Толщина теплоизоляции — 50 мм.
- Материал бака и змеевика — нержавеющая сталь AISI304.

В стандартный комплект поставки водонагревателя косвенного нагрева ВЭТ-2500/W66 входят:
- Проушина для подъема,
- Теплоизоляция толщиной 50 мм,
- Патрубки входа/выхода Ду32,
- Бак из нержавеющей стали AISI304,
- Термоманометр 80 мм ТМТБ-31Т,
- Съемный чехол (кожзам),
- Болт заземления М6,
- Патрубок слива,
- Шаровый кран Ду15,
- Змеевик из нержавеющей гофрированной трубы Ду32,
- Клапан предохранительный на 6 бар,
- Клапан обратный Ду32.
Дополнительные опции по запросу заказчика:
По запросу заказчика ОДО «Предприятие «Взлет» может изменить и добавить:
- Изменение мощности и площади теплообмена змеевика.
- Изменение количества змеевиков.
- Изменение расположения и размеров входных и выходных патрубков.
- Добавление магниевого или активного титанового анода.
- Добавление ревизионного люка Ду200.
Промышленные водонагреватели косвенного нагрева со змеевиком из гофрированной нержавеющей трубы — это высокоэффективное оборудование, предназначенное для нагрева и поддержания температуры воды в системах отопления, горячего водоснабжения и технологических процессах. Они обеспечивают надёжное и экономичное решение для крупных объектов, таких как промышленные предприятия, гостиницы, больницы, торговые центры и другие учреждения.
Принцип работы водонагревателя ВЭТ-2500/W66
В основе работы водонагревателя косвенного нагрева лежит использование внешнего источника тепла, который нагревает теплоноситель в змеевике. Змеевик изготовлен из гофрированной нержавеющей трубы, что обеспечивает равномерный нагрев воды и устойчивость к коррозии. Теплоноситель, проходя через змеевик, передаёт тепло воде, которая находится в баке водонагревателя.

Применение
Промышленные водонагреватели косвенного нагрева со змеевиком из гофрированной нержавеющей трубы широко используются в различных отраслях промышленности и сферах деятельности. Они обеспечивают надёжное и эффективное решение для нагрева воды в системах отопления, горячего водоснабжения и технологических процессах на крупных объектах.
Если вы ищете надёжное и эффективное оборудование для нагрева воды, водонагреватель косвенного нагрева ВЭТ-2500/W66 станет отличным выбором.









