- Описание
- Характеристики
- Документация
Расшифровка обозначения
Насос ПФС 50/200.211-18,5/2-016:
П - погружной электродвигатель без принудительного охлаждения;
Ф - для сточных масс;
С – вихревое рабочее колесо;
50 - номинальный диаметр напорного патрубка, мм;
200 - номинальный диаметр рабочего колеса, мм;
211 - фактический диаметр рабочего колеса, мм;
- без обозначения, стандартная длина кабеля 10 метров;
18,5 - номинальная мощность электродвигателя, кВт;
2 - число полюсов электродвигателя;
0 - мобильный погружной монтаж;
1 - ручного управления;
6 - насос с датчиками температуры в обмотках статора и влажности в масляной камере.
Шкаф защиты и управления
Насос укомплектован шкафом управления Иртыш ШУ1-1.1,1.6-31.
Исполнение шкафа защиты, поставляемого в комплекте с насосом:
автоматического управления с одиним двухуровневым поплавковым выключателем.
Внимание! Опускное устройство заказывается отдельно и имеет собственный артикул!
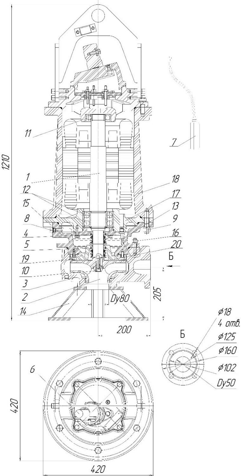
Габаритные размеры

Обозначения на чертеже
1.Электродвигатель;
2. Колесо рабочее;
3. Корпус спиральный;
4. Торцовое уплотнение;
5. Торцовое уплотнение;
6. Встроенный кабель;
7. Поплавковый выключатель;
8. Пробка масляной камеры;
9. Метизы крепления корпуса камеры и стакана подшипника к корпусу электродвигателя;
10. Метизы крепления колеса рабочего;
11. Подшипник;
12. Подшипник;
13. Датчик влажности;
14. Подставка;
15. Корпус камеры;
16. Метизы крепления корпуса камеры к корпусу спиральному;
17. Стакан подшипника;
18. Корпус электродвигателя;
19. Метизы крепления крышки камеры к корпусу камеры;
20. Крышка камеры.
Параметры рабочей точки
|
Производительность, Q |
30 |
м³/ч |
|
Напор, Н |
65 |
м |
|
Потребляемая мощность в рабочей точке, Nпотр |
14,8 |
кВт |
|
КПД агрегата, η |
34 |
% |
Характеристики насоса
|
Вариант монтажа насоса |
на опускном устройстве |
|
Условный диаметр напорного патрубка, Ду, мм |
50 |
|
Тип рабочего колеса |
вихревое |
|
Фактический диаметр рабочего колеса, мм |
211 |
|
Рекомендуемая глубина погружения, м |
не более 10 |
|
Максимальный размер перекачиваемых частиц, мм |
25 |
|
Тип уплотнения вала |
торцовое |
|
Материал вращающейся части и неподвижного кольца торцового уплотнения |
карбид кремния |
|
Материал рабочего колеса |
чугун СЧ20 |
|
Материал корпуса спирального |
чугун СЧ20 |
Параметры электродвигателя
|
Номинальная мощность, кВт |
18,5 |
|
Напряжение, В |
380 |
|
Частота тока, Гц |
50 |
|
Номинальный ток, А |
36 |
|
Число полюсов |
2 |
|
Частота вращения, об/мин |
2940 |
|
Сos φ |
0,81 |
|
КПД эл. двигателя |
88 |
|
Соединение обмоток по схеме |
★ |
|
Класс нагревостойкости |
F |
|
Способ охлаждения электродвигателя |
погружной электродвигатель без принудительного охлаждения; |
|
Способ защиты электродвигателя |
влаго - термозащита; |
|
Степень защиты электродвигателя |
IP 68; |
|
Длина встроенного электрического кабеля, м |
10 |
|
Количество жил кабеля, шт. |
3+1+3 |
|
Сечение жил, мм² |
10+6+2.5 |
|
Изоляция кабеля |
маслостойкая |
| Исполнение шкафа защиты, поставляемого в комплекте с насосом |
ручного управления |



Ресурсы
|
Средняя наработка на отказ, часов, не менее |
7000 |
|
Средний ресурс до главного техобслуживания, часов, не менее |
20000 |
|
Средний срок службы, лет, не менее |
20 |
|
Масса насосного агрегата без шкафа управления, кг. |
370 |







