- Описание
- Характеристики
- Видео
- 3D-модель
Расшифровка обозначения
Насос ПФ2 80/140.137-5,5/2-016
П - погружной электродвигатель без принудительного охлаждения;
Ф - гидравлическая часть насоса предназначена для перекачивания сточных вод;
2 - в насосе установлено двух - канальное рабочее колесо;
80 - номинальный диаметр напорного патрубка, мм;
140 - номинальный диаметр рабочего колеса, мм;
137 - фактический диаметр рабочего колеса, мм;
- без обозначения, стандартная длина кабеля 10 метров;
5,5 - номинальная мощность электродвигателя, кВт;
2 - число полюсов электродвигателя;
0 - мобильный погружной монтаж;
1 - ручного управления;
6 - насос с датчиками температуры в обмотках статора и влажности в масляной камере;
Шкаф защиты и управления
Насос укомплектован шкафом управления Иртыш ШУ1-1.5,5.6-31.
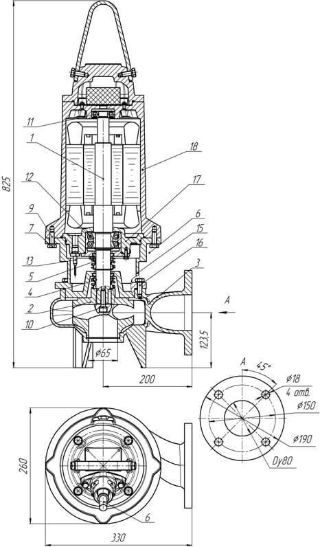
Габаритные размеры

Обозначения на чертеже
1. Электродвигатель;
2. Колесо рабочее;
3. Корпус спиральный;
4. Торцовое уплотнение;
5. Торцовое уплотнение;
6. Встроенный кабель (-ли);
9. Метизы крепления корпуса камеры к корпусу электродвигателя;
10. Метизы крепления колеса рабочего;
11. Подшипник;
12.Подшипник;
13. Датчик влажности;
15. Корпус камеры;
16. Метизы крепления корпуса камеры к корпусу спиральному;
17. Стакан подшипника;
18. Корпус электродвигателя.
Параметры рабочей точки
|
Производительность, Q |
60 м³/ч |
|
Напор, Н |
15 м |
|
Потребляемая мощность в рабочей точке, Nпотр |
3,8 кВт |
|
КПД агрегата, η |
55 % |
Характеристики насоса
|
Вариант монтажа насоса |
мобильный погружной |
|
Условный диаметр напорного патрубка, Ду |
80 мм |
|
Тип рабочего колеса |
двух - канальное |
|
Фактический диаметр рабочего колеса |
137 мм |
|
Рекомендуемая глубина погружения |
не более 10 м |
|
Максимальный размер перекачиваемых частиц |
25 мм |
|
Тип уплотнения вала |
торцовое |
|
Материал вращающейся части и неподвижного кольца торцового уплотнения |
карбид кремния |
|
Материал рабочего колеса |
чугун СЧ20 |
|
Материал корпуса спирального |
чугун СЧ20 |
Параметры электродвигателя
|
Номинальная мощность |
5,5 кВт |
|
Напряжение |
380 В |
|
Частота тока |
50 Гц |
|
Номинальный ток |
10,7 А |
|
Число полюсов |
2 |
|
Частота вращения |
2940 об/мин |
|
Сos φ |
0,88 |
|
КПД эл. двигателя |
88 |
|
Соединение обмоток по схеме |
звезда |
|
Класс нагревостойкости |
F |
|
Способ охлаждения электродвигателя |
погружной электродвигатель без принудительного охлаждения |
|
Способ защиты электродвигателя |
влаго - термозащита |
|
Степень защиты электродвигателя |
IP 68 |
|
Длина встроенного электрического кабеля |
10 м |
|
Количество жил кабеля |
7 шт |
|
Сечение жил |
2,5 мм² |
|
Изоляция кабеля |
маслостойкая |



Ресурсы
|
Средняя наработка на отказ |
не менее 7000 часов |
|
Средний ресурс до главного техобслуживания |
не менее 20000 часов |
|
Средний срок службы |
не менее 20 лет |
|
Масса насосного агрегата без шкафа управления |
95 кг |







